产品中心
DOUBLE DISC CHECK VALVE
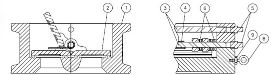
Check valve shall be of the double disc, wafer style with torsion spring induced closure. Valve shall be Wafer style for bolting between ANSI Class 125 flanges. Valves have a Cast Iron body (ASTM A-126, CL. B) to fit inside 125# ANSI bolt circles, a two piece Bronze disc (ASTM B-62, 85-5-5-5), type 316 Stainless Steel dual shafts, type 316 Stainless Steel torsion spring and have an integrally molded elastomer seat vulcanized to the body. Valve for horizontal flow shall be installed with the shafts in vertical position.
|




